Err

Pochette joints DENSO HP2 CRJ0001 version adaptable

DENSO
(Code: CRJ0001)
(1 Item(s) In Stock)
Pochette joints DENSO HP2 CRJ0001 version adaptable
29.20 €
100g

Pochette joints DENSO HP2 CRJ0001 version adaptable



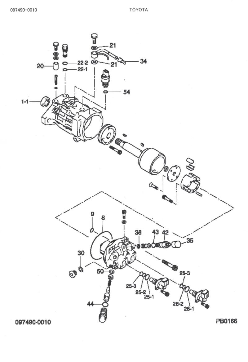
Cette pochette comprend les joints de la vue éclatée ci jointe

Pour pompe DENSO HP2 dont le numéro commence par 97300 et entre autre les pompes ci dessous :

097300-0010
097300-0020
097300-0041
097300-0050
097300-0050
097300-0090
DCRP200010
DCRP200020
DCRP200040
DCRP200050
DCRP200080